目前,热处理行业都在围绕降低热处理能源消耗、热处理作业环境而进行技术改造。利用锻件锻造后的余热进行等温退火,可以节省加热能源,提高锻件热处理质量,车间作业环境,减少后续抛丸清理时间,缩短工艺周期。因此,国内许多锻造公司都在探索锻件锻造后的余热等温退火工艺的应用。
1.锻件技术要求
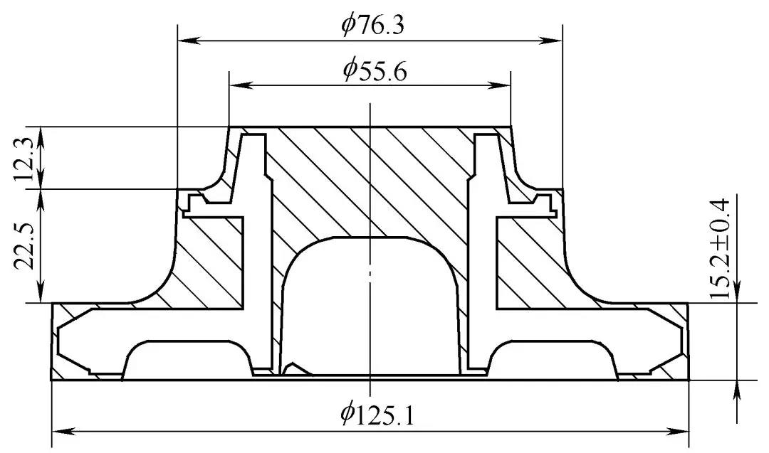
锻件为倒档齿轮,形状如图1所示,锻件重量为1.9kg,硬度要求为149~170HBW(dB=4.60~4.90),材料为TL4227,具体化学成分见附表。

图 1
TL4227化学成分(质量分数)%)
|
C |
Si |
Mn |
S |
P |
Cr |
Al |
|
0.14~0.22 |
≤0.12 |
1.0~1.5 |
0.02~0.035 |
≤0.035 |
0.8~1.3 |
0.015~0.04 |
2.工艺原理
普通等温退火工艺为将钢加热到Ac3以上30~50℃的温度,在此温度下保温时间后,比较地冷却到稍低于Ar1的某一温度,作长时间等温,直到使奥氏体转变为珠光体,然后以任意速度进行冷却的热处理工艺方法。
锻件余热等温退火工艺是在锻件终锻切边后,以的冷却速度冷到珠光体转变温度,在此温度保温到珠光体转变结束为止,然后出炉空冷的热处理工艺方法。采用锻件余热等温退火可获得粗细均匀的珠光体组织,可锻件的切削加工性能。
3.工艺方法
使用设备及工装为推辊式连续电阻炉、料箱和HB-3000型布氏硬度计。
具体工艺曲线见图2,加热温度是600℃,上料带速频率为70Hz,炉辊速度频率为70Hz,保温时间2h,出炉冷却方式为空冷。

图 2
锻打后的锻件通过输送带(以的速度)进入余热等温退火电阻炉的料箱中,炉中共有17个料箱,炉中的辊子周期性带动料箱向前运动,锻件大约保温2h,然后出炉空冷。余热等温退火后的锻件硬度比较均匀,符合技术要求,金相组织为铁素体+珠光体。
余热等温退火后锻件硬度实际值:152~163HBW(dB=4.70~4.85),符合硬度技术要求。余热等温退火后锻件的金相组织见图3。

图 3
4.结语
余热等温退火工艺简化了生产工序,减少了锻件的物流周转成本,避免了锻件二次加热重新热处理产生氧化、脱碳的倾向。同时,也减少了后续抛丸清理工序的成本,节约了能源, 降低了锻件成本,仅此倒档齿轮一项每年就为公司节约二十多万元。目前,我公司已试验成功了7种材料近30个品种的锻件余热等温退火工艺,锻件的热处理质量都比较稳定。