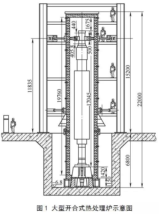
我国首台核电转子制造的关键设备大型开合式热处理炉已在中国一重顺利运行多时。转子属于长轴类锻件,为防止其长期加热和淬火时的变形,使用立式加热是佳的热处理方法。开合式热处理炉(见图1)为侧面可旋转开合的大型圆筒形热处理炉,设备大部分布置在地面,垂直工件加热结束后,使用吊夹具将其稍微吊起,然后平移出热处理炉,平移进入立式喷淬设备。转子整个平移过程距离和时间短、操作简便,可核电转子的热处理质量,具实用性;同时解决了深井式炉基建和大负荷起重设备制造等难题,并大幅降低了整体工程造价及运行维护费用。

1.主要炉型、结构及特点
该开合炉由上部活动炉体、下部固定炉体、炉体支架、炉内工件支座、炉外工件支座、开合驱动系统、工件扶持系统、速度降温系统、加热系统及电控系统等组成。炉体呈半圆型旋转开张,左右对称,靠两组电动推缸实现炉体的开合,从而将构件置于炉中。按照设计要求,进行热处理的构件长可达18m,大直径可达2.2m,图2为三维视图。

开合式炉中采用下支上扶机构,即上端有夹钳对转子起到扶持作用,下部配有不同尺寸支座,通过调整下支和上扶机构,开合炉就可用于多种尺寸、规格的转子加热。图3和图4分别给出了炉体打开和闭合时两抱夹间距。对于各段性能要求不同的汽轮机低压转子,在开合炉内设计了的隔离结构和控制方法,通过两者的结合使用,实现了在炉内不同高度范围内不同加热温度的控制,从而低压转子各段性能满足使用要求。


在开合式热处理装备中,设计了人性化的总线式计算机控制系统,分区多点控温,热处理工艺过程的控制。
2.相对于井式炉的优势
(1)工期短、造价低、维护费用低
转子热处理传统上采用的是井式炉加热,该种工艺方式中工件是垂直升降,因此井式炉要求有较高的厂房来满足工件起吊成垂直状态;要求有很深的沉箱结构基础来安放井式炉。由于工件多为吊挂状态加热,吊具加庞大。采用这种生产方法,厂房地上和地下建设50多米,基建投资大,而且在起重设备、吊装方式等方面还存在很多技术问题,实施难度特别大。开合炉不需要沉箱结构,占地面积小,施工进度快且方便 ,降低了工程总造价。相对井式炉来说,开合炉的制造安装具有工期短、造价低、施工环保等优势,同时运行成本较低,具有大的技术经济效益。
(2)可较好的淬火质量
对特长工件进行淬火时,先被吊出炉外的工件顶部后才浸入冷却液内,而后吊出的工件下部却先浸入,工件受热不均,影响淬火质量。通常的措施是将炉膛上下部分别控制到不同的温度来补偿自身温降。开合式热处理炉立式旋转、对开方式打开与闭合,可以转子的上下温度差小,淬火时佳的性能。工件从出炉到进入冷却槽的整个过程和在空气中停留的时间都很短,因而氧化少、温降小、上下部温降速度基本一致,可较好的淬火质量。
3.产品实例
目前,用该开合炉处理过的产品包括作为中间试验的印度发电机转子,为阿尔斯通制造的一根电机转子,和国内首件百万千瓦核电发电机转子。为了对开合炉进行性能测试并且和井式炉处理的产品进行对比分析,采用条件相同的两根印度发电机转子分别在该开合炉和井式炉中进行热处理,后续检测结果显示两根转子均满足厂家对该转子各项性能的要求。但从强度的均匀性方面考虑,在开合炉内进行热处理的转子屈服强度分散度仅为15MPa,而在井式炉处理的转子屈服强度的分散度为50Mpa。由此可见,开合炉在控制炉温均匀性方面具有明显优势。
在首件百万千瓦核电发电机转子热处理结束后,对该转子进行了详细的解剖分析。通过对转子不同部位取样进行系列力学性能测试和金相分析,检测结果显示性能指标均合格。同时转子不同部位的性能值和晶粒度均呈现出非常好的均匀性。
4.结语
通过开合炉的结构创新,改变了工件传统工艺方式和吊运方式,了转子质量,具实用性,并解决了基建和设备等难题,可节省大量建设资金,缩短建设周期。开合式热处理装备,为我国核电常规岛的发电机、汽轮机等大型转子的热处理工艺技术与装备的与建设提供了的和有力的支持。开合式热处理装备具有技术水平,是国内首台套大型核电转子的热处理装备,是重大科技专项标志性设备之一,填补了核电发展中大型转子热处理关键设备的空白。